无论由摩尔定律或消费需求驱动,在当今电视中所需要的性能水平可能似乎是势不可当的。
与标准清晰度电视格式(SDTV)相比,具有1080像素的高清晰(HD)格式的数字电视所驱动的数据量要大6倍,它要管理数字电视、IPTV、视频会议广播及处理杜比AC-3、MPEG和其它音频格式,这些功能都成为了数字电视(DTV)必须具备的功能。
从对音频、视频和输入信号格式的最高要求来说,存在若干可供选择观看的选项:正投、背投、DLP、LCD、等离子和CRT。无论是在嵌入到手表中的1英寸的显示器上观看电视,或是采用投影系统的显示屏在整块墙壁上观看电视,对尺寸和性能的组合要求几乎是无穷无尽的。
数字电视基础
即使目前在货架上的每一台电视可能从大小、外观、形状因子和销售人员给你的基本描述来看都非常不同,但是,当你考察其内部的时候,电视的基本构造模块都是非常相似的。
一般来说,数字电视可以被分解为不到10个主要的模块:显示器(和驱动器)、核心媒体引擎、音频编解码和处理、视频编解码和处理、调谐器、接口模块和电源。对每一个模块的绝对性能要求由你最喜欢的座位的舒适体验的性能水平来定义。
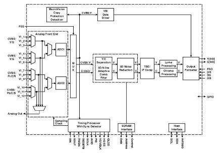
下图为典型的数字电视系统方块图。

图1:典型的数字电视系统方块图
在图1中,我们给出了HDTV的基本方框图,我们在功能方块图层面已经加以考虑。开发屏幕后面的电视机系统需要采用许多工具,它们都可以从各类企业获得。然而,在把来自不同元器件供应商的解决方案整合在一起的过程中,既要加快设计周期以缩短产品上市时间,又要确保兼容性,那么,这种要求就会成问题。无论是采用DLP技术、基于DSP的数字媒体处理器、其它的核心处理解决方案或一些其它的高性能模拟元器件,都需要为快速演进的数字电视市场设计出高度集成、灵活且便于使用的数字电视机。对于融合的应用来说,把高性能音视频CODEC、图形加速、通信和支持功能设计到家庭娱乐体验系统之中是至关重要的。
视频设计
消费者常常在观看电视的时候,对视频体验提出非常高的要求。正因为如此,分辨率、亮度、对比度和清晰度对看起来的“逼真”体验有着重要意义。对于电视机来说,支持多种ATSCTDV格式、NTSC和PAL解码、复合及S-Video输入和二维滤波都是至关重要的。随着高清晰电视的发展,以配备三维滤波的1080i分辨率支持全高清将是标准的配置。在接收如图1所示的视频信号链的过程中,重要的是选择具有混合各种性能的能力的视频解码器、模/数转换器(ADC)和视频缓冲器,以便于你能够根据系统的成本目标调节性能。

图2:视频解码器的数据流路径
图2所示为视频解码器的数据流路径,它负责处理NTSC、PAL、SECAM、S-Video、SCART、YPbPr、RGB、480p和其它输入格式。在数字电视中,对这种级别的灵活性的支持是必需的,完全是为了让一个机型经过实际设置可以工作于任何格式。数字电视解码器的典型性能特征包括:同步、消隐、场、有源视频窗口、水平和垂直同步、时钟、同步锁相(用于下行视频编码同步)、主CPU中断和可编程逻辑I/O信号。这是对数字视频输出以及用于先进的垂直消隐期(VBI)数据恢复的补充。作为一种附加功能,一些视频解码器支持VBI数据处理器(VDP)在文字电视广
为您推荐
初次见到刘川平先生,是他作为拍摄中国第一部HDV高清晰数字电影《天怨》的编剧/导演出现在高清晰数字摄像机技术交流会上。个人名片:刘川平,DV作家,导演,中国电视制片委员会委员,中国电视艺术家协会会员,北京枫丹白露企划有限公司艺术总监。电视连续剧《王震将军》《兰花儿》《一路风尘》等编导,电视纪录片《川江号子》《人熊共居》《老李与鸭鸭》《长发男人》《月亮女儿》《DV水日记》《什刹海畔》等导演讲述高清创作历程9月份开始拍摄的电影《天怨》,首先受到了来自摄像机厂家JVC的关注,因为,据JVC所知,使用这款ProHD高清晰紧凑型肩扛式摄像机进行电影拍摄的,刘川平先生应该算是第一位。对于DV爱好者来说,其
一直被认为HDTV发展比美国落后的欧洲,最近在这方面得到快速的发展。英国的BSkyB,法国的CanalSat,德国的Premiere和意大利的SkyItalia都承诺在2006年六月,也就是世界杯举办之前提供高清晰电视服务。对于该项赛事的转播工作将被用来展示该格式的优势所在。使用DVB-S2卫星标准和H.264压缩技术的下一代HDTV服务也已经在欧洲投放市场。德国的ProSiebenSat.1集团在10月份成为首家使用全新高分辨率宽带格式提供高清晰(HD)电视服务的欧洲公司。引导HDTV潮流的是欧洲广播联盟的执行子公司Eurovision。该联盟拥有全球最大的节目收集网之一。1998年,该卫星
近日,中国高清彩电的领头羊创维、TCL、海信、厦华、长虹、康佳等围绕着“高清数字”电视展开了争论,他们提交至广电总局的中国
国内高清碟机的概念吵了很久,不过我想恐怕没有几个人看到过EVD、HVD和HDV,前天我收到了关于HDV所谓HD12编码技术的实际身份就是divx的说明文档,看过之后大吃一惊,于是决定亲自拿来实验一下。通过第三方视频格式查看器来检测所谓高清影碟到底存放的是什么,顺便把EVD,HVD也带上一起检测。经过两天的奋战,终于完成了这片文章,结果还是很出乎意料的。其实高清碟机的检测并不一定需要测试播放机,反而由于播放机电路可以设计带有硬件插值功能,能将本来不高的分辨率硬拉伸到高清标准。所以,直接查看从零售市场上买到的碟片中存储的视频文件,是找到其压缩技术和视频分辨率的最直接准确的方法。EVD、HVD、HD
